相关产品推荐更多 >
万千商家帮你免费找货
0 人在求购买到急需产品
- 详细信息
- 文献和实验
- 技术资料
- 国食药监械注册号:
N/A
- 库存:
1
- 供应商:
上海奥法美嘉生物科技有限公司
- 现货状态:
1
- 保修期:
1年
- 规格:
台
AccuSizer 780 A9000 FX-PP高浓度大颗粒计数器
为纳米级样本提供粒度技术方案
基本信息

仪器型号:AccuSizer 780 A9000 FX-PP
工作原理:基于光阻法的集聚光束技术(Focused Light Obscuration&SPOS)
检测范围: 0.6μm-20μm
AccuSizer系列使用单粒子光学定径SPOS的方法来快速计数和确定粒子的粒径,一次通过一个,构建一个真实的粒子大小分布。AccuSizer FX在更高的粒子浓度下使用这种原理进行测量。
AccuSizer FX利用集聚光束技术,准许传感器聚焦到一个特定的区域使得测试浓度达到106个/mL,测试范围为0.6μm-20μm。这些是数千倍的浓度水平高于传统传感器。尽管其他技术也尝试过这种方法来监视高浓度流程流,但它一直受到低分辨率和准确性的困扰。FX和FX Nano采用了光电混合技术,保持了与传统SPOS传感器相同的分辨率和精确度。AccuSizer FX监测散射信号大小下限0.7µm。传统的单粒子光学粒径尺寸下限的限制因素之一是需要找到足够干净的稀释剂,这样它们就不会添加或构成被分析样本的大部分背景计数。由于FX传感器能够在较小的尺寸范围内检测,背景计数级别不再是一个问题。在过去,几千个背景计数会引起极大的关注,但现在浓度超过100万,几千个背景计数不会影响整体分布。与其他仪器不同的是,FX在几分钟内可以计数和测量数十万个粒子。
技术优势
1、高浓度下检测范围广,0.6μm-20μm;
2、浓度测试上限高,1012#/ml;
3、高分辨率,高灵敏性,统计精度高;
4、粒子灵敏度 ≤10PPT
5、粒径准确度 ≥98%
6、粒子计数准确度 ≥90%
7、可自定义32个用户自定义检测通道;
8、数据结果以多种形式和格式呈现,并可以追溯历史数据;
9、模块化设计,便于升级及维护;
工作原理
目录结构:
1.单颗粒光学传感技术简介
2.传统光阻法和光散法测量粒度的原理
3.PSS的SPOS技术介绍
4.何为聚集光束技术
前言
单颗粒光学传感技术(Single Particle Optical Sizing, SPOS)是一种用于测量溶剂中悬浮粒子的大小和数量浓度的激光粒度检测通用技术。在SPOS技术中液体悬浮液中的粒子流经传感器的样品池时,在激光光源的照射下,被阻挡或者被散射的光会转变成脉冲电压信号,脉冲信号的大小是由粒子的截面面积和物理判定规则即光散射或者光阻共同决定的。光阻也被称为不透光度或者光消减。而粒子间的相互阻挡和散射是和粒子的大小和浓度是有关系的,利用脉冲幅度分析器和校准曲线便可以得到悬浮粒子的数量浓度和粒度大小分布。传统光阻法可以测得1.5μm以上的粒子和并具有较高的分辨率。
单颗粒传感技术(SPOS)填补了常见粒度仪检测技术在检测粒径分布中的重要不足—粒子数量的统计。自AccuSizer 780系列仪器诞生,以往以牺牲精确性和分辨率来换取检测速度和易用的历史一去不复返!
AccuSizer 780 A9000 FXnano-SIS 纳米大颗粒计数器的集聚光束光阻技术(Focused Light Obscuration)是在传统单LE光阻传感器的单颗粒光学传感技术的基础上加入了FXnano传感器。双传感器同时运行的情况下,检测下限由原来的0.5μm下探至0.15μm,使得该仪器在大颗粒检测领域的应用更加的广泛。
粒粒皆清楚,不丢失任何细节。
2.传统光阻法与光散射法原理

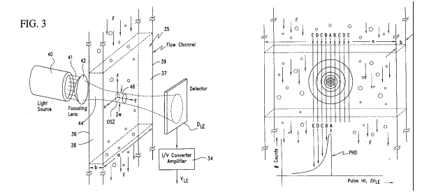
Figure 1 光阻法检测示意图
图1为光阻法检测原理图,待测液体流过横截面很小的流通池,流通池两侧装有光学玻璃,激光器的光束通过透镜组准直,光束穿过流通池并被光电探测器所接收。若待测液体中没有颗粒,则光电探测器接收到的光信号稳定不变,输出的电压信号也恒定,将此恒定信号作为基准电压;若液体中有颗粒物质,颗粒通过流通池传感区域,将会遮挡激光,光电探测器接收到的光信号减小,产生一个负的脉冲电信号,如下图2所示。

Figure 2 光电二极管信号
脉冲信号幅度与基准电压信号有如下关系:
(1)
式(1)中:E为颗粒遮挡引起的脉冲幅度;a为颗粒的有效遮挡面积(等效为球形);A为光电探测器的有效面积;E0是没有颗粒时的光电探测器所产生的基准电压。因此,脉冲信号幅度对应颗粒的大小,脉冲信号个数对应颗粒的数量。

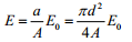
Figure 3 光散射法检测原理图
图3为光散射法检测原理图,待测液体流过流通池,流通池两侧装有光学玻璃,激光器的光束通过透镜组准直,光束穿过流通池,照射在光陷进上。若待测液体中没有颗粒,则光电探测器就收不到光信号,若液体中有颗粒,颗粒通过流通池,与激光光束发生散射现象。某一个(或几个)角度下的散射光通过透镜收集汇聚到光电探测器上,产生正的电信号脉冲,脉冲信号的幅度和散射光强成正比。根据信号的幅度和个数可以对液体中的微小颗粒进行计数检测。
当光束照射含有悬浮微粒的液体时光能减弱。根据文献, 此时悬浮液中微粒会对光产生散射和吸收等作用,因为这些作用导致的光强减弱与微粒的浓度存在线性关系。在文献中引用了如下公式,来描述当微粒浓度较小时,透射光强与入射光强之间的关系:

它对应于因为散射和吸收而导致光的衰减总量。有米氏散射的理论,随着微粒的增大,光强大量集中于前向0度角附近,图1中我们也可以注意到这一点。(4)式中没有考虑到这样的事实:在光阻法检测中,前向0角度附近的散射光仍然能够被探测器接收,因此必须考虑对散射系数进行修正。实际中(4)式变为:
3.PSS的单颗粒光学传感技术简介
经过光感区域的粒子由于大小不同,光强随之产生相应的变化。将探测器收集的光信号转换成电压信号,不同的电压信号对应不同的粒径大小,从而得到微粒的粒径。美国PSS粒度仪公司(Particle Sizing Systems)的单颗粒光学传感技术(Single Particle Optical Sizing,SPOS)是在传统光阻法(LE)大颗粒光学传感技术的基础上加入了激光散射模块(LS)。在两个模块(LE+LS)同时运行的情况下,检测下限由原来纯光阻的1.5μm下探至0.5μm。使得其在大颗粒检测领域的应用更加的广泛。
SPOS技术对粒子的信号响应方式是信号与特定粒子相对应的。AccuSizer 780系列仪器中的传感器通过两种不同性质的物理作用:光消减(light extinction, LE)与光散射(light scattering, LS)对通过传感器的粒子进行测定。光消减技术检测通过流动池的光强变化,拥有检测粒子的粒径范围广且与粒子组份无关等优点。然而,它的灵敏度有限。另一方面,光散射技术具有相对窄的动态粒径范围 (取决于检测器/放大器的饱和值),但能检测到小粒径的粒子,使用大功率激光光源还能检测到粒径更小的粒子。通过合并光消减和光散射响应信号,传感器可同时拥有这两种方法的优点,因而在不损失单粒子分辨率巨大优势的前提下拥有相对较广的动态粒径范围。

4.何为集聚光束技术简介
集聚光束技术仪器采用双传感器检测,。
LE系列传感器采用单颗粒光学传感技术(SPOS):该技术是一种用于测量溶剂中悬浮粒子的尺寸和浓度的激光粒度检测通用技术。在SPOS技术中液体悬浮液中的粒子流经传感器的样品池时,在激光光源的照射下,被阻挡或者被散射的光会转变成脉冲电压信号,脉冲信号的大小是由粒子的截面面积和物理判定规则即光散射或者光阻共同决定的。光阻也被称为不透光度或者光消减。而粒子间的相互阻挡和散射是和粒子的大小和浓度是有关系的,利用脉冲幅度分析器和校准曲线便可以得到悬浮粒子的浓度和粒子大小的分布。
FX系列传感器采用集聚光束技术(Focused Light Obscuration):该技术在测量高浓度样品上具有极高的优势。样品均匀分布在传感器的样品池中,激光仅照射到样品的一部分,探测区域中的入射光被粒子阻挡和散射,光强信号转变成脉冲电压信号,脉冲电压的高度取决于粒子的大小和通过光束的距离,通过去卷积计算将得到的脉冲分布转变成粒径分布。得到样品的照射区域的粒径分布后,通过计算放大倍数,从而得到样品的整体粒径分布。集聚光束技术通过大幅度消减照射区域(view volume),从而扩大检测浓度范围,降低检测粒径下限。

风险提示:丁香通仅作为第三方平台,为商家信息发布提供平台空间。用户咨询产品时请注意保护个人信息及财产安全,合理判断,谨慎选购商品,商家和用户对交易行为负责。对于医疗器械类产品,请先查证核实企业经营资质和医疗器械产品注册证情况。
文献和实验联苯(PCB混合物)或苯巴比妥钠和β-萘黄酮结合诱导的大鼠制备肝匀浆,在 9000 g 下离心 10 min 后的肝匀浆上清液。 4 原理鼠伤寒沙门氏组氨酸营养缺陷型菌株不能合成组氨酸,故在缺乏组氨酸的培养基上,仅少数自发回复突变的细菌生长。假如有致突变物存在,则营养缺陷型的细菌回复突变成原养型,因而能生长形成菌落,据此判断受试物是否为致突变物。可使用北京汇智泰康医药技术有限公司研发生产的 Ames 试剂盒,试剂盒省去了培养基成分准备、诱导 S9 制备、菌株 鉴定、菌株培养等时间,可以直接使用,大大
经750g、离心10min后留上清,以9000g离心20min后留沉淀,重新悬浮后以9000g再离心20min,弃上清得线粒体.全部操作于4℃进行。 (2)培养细胞提取线粒体。细胞弃去培养液后,用细胞收集液作用2到3分钟,用scraper,将细胞收集起来,6000g,离心15分钟。弃上清,之后加细胞匀浆液,用匀浆器或手动匀浆管匀浆,将装有匀浆液的离心管配平后放入普通离心机,以2500rpm,离心15分钟,缓缓取上清液,移入高速离心管中,保存于有冰块的烧杯中。以17000rpm离心20分钟,弃上清
一、核酸及蛋白质常用数据 1.核苷三磷酸的物理常数 化合物 分子量 λmax(pH7.0) 1摩尔溶液(pH7.0)中λmax时的最大吸收值 OD280/OD260 ATP 507 259 15400 0.15 CTP 483 271 9000 0.97 GTP 523 253 13700 0.66 UTP 484 262 10000 0.38 dATP 494 259 15200 0.15 dCTP 467 271 9300
技术资料需要更多技术资料 索取更多技术资料











